Project Title: Powertrain-Troubleshooting Hobby Lathe – Part 2 (Driven Mechanics)
Project Start: 28.10.2023
Project End: 28.03.2024
Vorwort
Part 2 des Projektbericht ist die Fortsetzung von Part 1 und befasst sich mit den Komponenten der anzutreibenden Mechanik. Er wurde aus der Hobbyisten-Perspektive erstellt und soll eventuell etwas zur Inspiration und Unterhaltung in diesem Umfeld beitragen. Sollten ähnliche Problemstellungen in Ihrer Hobby-Werkstatt auftreten, ist es in allen Fällen ratsam, Kontakt mit dem Hersteller aufzunehmen, um sich entsprechend beraten zu lassen!
Obwohl wegen der Komplexität des Themas doch einige iterative Recherchen mit zu redigierenden Ergebnissen anfallen werden und es auch an praktischer Erfahrung mangelt, bin ich doch zuversichtlich die anzutreibende Mechanik einigermaßen analysieren und eventuell vorhandene Probleme beheben zu können. Sollten keine Unregelmäßigkeiten gefunden werden, so hätte das Zerlegen und Wiederherstellen der Mechanik zumindest das vorhandene Hobby-Werkstattwissen wieder um einige Fakten bereichert und der Blick über den Tellerrand war wie so oft lohnenswert.
… ein bisschen versimpeltes Halbwissen!
In Wikipedia ist das “Spiel (Technik)” wie folgt erklärt:
“Das Spiel ist der fertigungs- und anwendungsbedingte Bewegungsfreiraum, in dem sich ein mechanisches Bauteil während oder nach der Montage gegen ein anderes oder mit einem anderen Bauteil, der Baugruppe bzw. Funktionseinheit frei bewegen lässt. Bei Wälzlagern spricht man von Lagerluft im nicht verbauten Zustand und von Spiel im verbauten Zustand.“
Quellenangabe: https://de.wikipedia.org/wiki/Spiel_(Technik)
… ein bisschen Theorie! >>>
Rollkegelspitze R, Druckkegelspitze S und Druckwinkel α
Die Rollkegelspitze R, die Druckkegelspitze S und der Druckwinkel α sind geometrische Größen, die überwiegend durch die Konstruktion der Rollbahnelemente (Lageraußenring und Lagerinnenring) und der Wälzkörper eines Schrägkugellagers oder Kegelrollenlagers vorgegeben sind.
Aus Gründen der Einfachheit wurde bei obenstehender Skizze die Neigung der Außenringlaufbahn zur Waagrechten als Druckwinkel α “deklariert”. Korrekterweise sei hier erwähnt, dass der tatsächliche Druckwinkel α etwas kleiner ist, da er der Neigung der Wälzkörper-Drehachse entspricht und nicht der Neigung der Wälzkörper-Mantellinie.
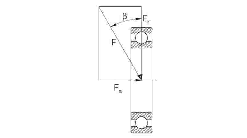
Lastwinkel β
Wird ein Wälzlager radial (Fr) und axial (Fa) durch die Kraft Fbelastet, so wird der Winkel zwischen der Kraftwirkungslinie und der lotrechten Radialebene des belasteten Wälzlagers als Lastwinkel β bezeichnet.
Screenshot-Quellenangabe: FAG OEM und Handel AG, Publ.-Nr. WL 00 200/5 DA (pdf-Dokument)
… mehr zur Rollkegelspitze R >>>
Rollkegelspitze R
Die zwischen Lagerinnen- und Lageraußenring eines Kegelrollenlagers geführten Wälzkörper/ Kegelrollen sind geometrisch gesehen Kegelstümpfe, deren verlängerte Mantellinien (Berührungslinien) und Rotationsachsen sich idealerweise in gedachten Kegelspitzen treffen. Da alle Wälzkörper eines Lagers “Linienkontakt” zur Lageraußenringlaufbahn haben, entspricht die Verlängerung der geneigten Lageraußenringlaufbahn dem Verlauf der verlängerten Linienkontakt-Mantellinie eines Wälzkörpers (Rollkegellinie).
Wird ein “ideales” Kegelrollenlager einmal um 360° gedreht, so treffen sich die Kegelspitzen aller Wälzkörper in einem Punkt “R” auf der Lagerachse. Bei paarweise spiegelbildlich verbauten Kegelrollenlagern, gibt die Abstandslage der beiden Rollkegelspitzen Auskunft über das axiale und radiale Wärmedehnungsverhalten (unter Erfüllung bestimmter Voraussetzungen wie z. Bsp. Lagerlänge, Werkstoffe etc.).
… mehr zum Druckwinkel α und Druckkegelspitze S >>>
Druckwinkel α und Druckkegelspitze S
Der Neigungswinkel einer Wälzlageraußenringbahn (Kegelrollenlager) zur Horizontalen ist ausschlaggebend für die axiale Belastbarkeit eines Lagers. Je größer der Winkel, desto höher die axiale Belastbarkeit! Die im 90°-Winkel auf der Wälzkörperdrehachse stehenden und durch die Wälzkörpermitten gehenden Linien werden als Drucklinien bezeichnet, da sie die Wirkungslinen zur Kraftübertragung über die Rollbahnelemente und Wälzkörper sind. Die Drucklinien schneiden die Wälzlagerachse in dem Druckmittelpunkt (Druckkegelspitze S), der kleinste Winkel zwischen der lotrechten Radialebene und den Drucklinien bilden den Druckwinkel α (oder auch Berührungswinkel). Der Abstand der Druckmittelpunkte Zweier spiegelbildlich verbauten Wälzlager auf der Lagerachse wird als Druckabstandsmaß α (auch Stützbasis H) bezeichnet. Der Druckwinkel α kann sich bei Belastung und Verformung von Lagerkomponenten ändern, bei Belastung spricht man von dem Betriebsdruckwinkel α, im unbelasteten Zustand von Nenndruckwinkel α0.
Lager mit einem Druckwinkel 0° ≤ α ≤ 45° werden der Gruppe der “Radiallager” und Lager mit einem Druckwinkel 45° ≤ α ≤ 90° der Gruppe der “Axiallager” zugeordnet.
… mehr zum Lastwinkel β >>>
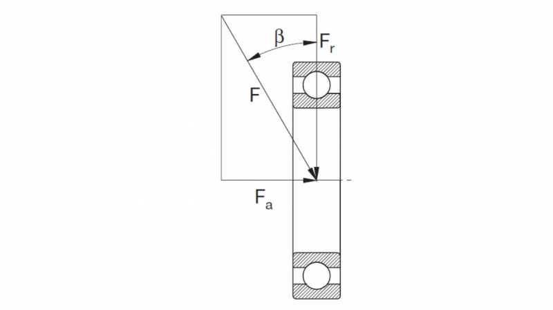
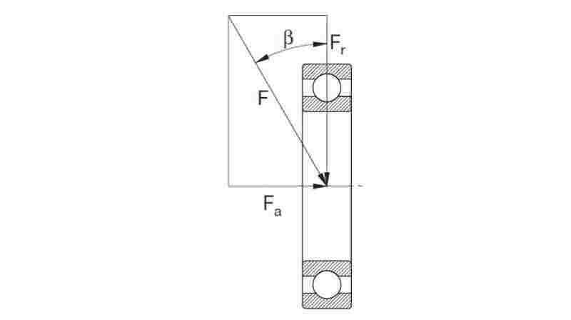
Lastwinkel β
Screenshot-Quellenangabe: Hochschule Anhalt, Fachbereich 6, Prof. Dr.-Ing. H. Gruss, Maschinenelemente Wälzlager (pdf-Dokument)
Die in einem Wälzlager erzeugte Lagerlast wird durch Kräfte verursacht, die aus zwei (radial und axial) oder einer Richtung (axial oder radial) wirken. Lager, auf die nur eine Kraft einwirkt, sind entweder “reine” Axiallager (radiale Belastung Fr = 0) oder “reine” Radiallager (axiale Bel astung Fa = 0). In der Praxis sind diese Fälle eher die Ausnahme, da die überwiegend verbauten Lager bauformunabhängig sowohl radiale als auch und axiale Kräfte aufnehmen.
Die Gesamtwirkung der Kräfte wird als die resultierende Kraft F bezeichnet und ist von der Größe der Kraft Fr und Fa abhängig. Der Winkel zwischen der in der lotrechten Radialebene wirkenden Kraft Fr und der resultierenden Kraft F wird als Lastwinkel β bezeichnet, der die Richtung der Kraft F bestimmt. Der Lastwinkel β und der Druckwinkels α sollten zur optimalen Nutzung der Lager-Tragfähigkeit nicht wesentlich voneinander abweichen.
Ändert sich während des Lagerbetriebs das Verhältnis von Fa/Fr so ändert sich auch der Lastwinkel β. Die Lastwinkelschwankungen wirken sich je nach Lagerbauform unterschiedlich stark auf die Lebensdauer des Lagers aus. Bei einem Rillenkugellager, welches nur bedingt axial belastbar ist, sind die negativen Auswirkungen stärker als bei einem Schrägkugellager oder einem Kegelrollenlager.
Bei der belasteten O-Lageranordnung einer Drehmaschine wirken gleichzeitig axiale und radiale Kräfte auf die Maschinenspindel, welche dann über die Lagerinnenringe/Wälzkörper auf die Lageraußenringe der Lageranordnung abgeleitet werden. Aufgrund des Linienkontaktes (Lagerinnenring/Wälzkörper/Lageraußenring) erfolgt die Kraftableitung entlang den Drucklinien, der Lastwinkel β entspricht idealerweise dem Betriebsdruckwinkel α. Sind Verbindungen zwischen Gehäuse und Lageraußenring quasi nicht “formschlüssig” (Spalt/schlechte Passung/suboptimale Kraftwirkungslinie), so kann es innerhalb einer Achsenrotation zu minimalsten Lastwinkelschwankungen kommen, die sich negativ auf die Lagerlebensdauer auswirken können.
… ein bisschen Terminologie! >>>
Da die Abmessungen und Bewegungsfreiräume von korrekt installierten mechanischen Lagerbauteilen temperatur- und verformungsabhängig sind, ist es notwendig, die daraus resultierenden Zustandsveränderungen und deren Auswirkungen genau beschreiben und bewerten zu können. Deshalb nachfolgend ein paar dem “Bearing Life Cycle“
“Lagerfertigung”
“Lagermontage” (Montieren, schmieren, einstellen)
“Normaler Lagerbetrieb” (Zustandsüberwachung & Wartung)
“Destruktiver Lagerbetrieb” (Zustandsüberwachung & Wartung)
“Demontage”
“Recycling”
zuordenbare, proprietäre “Non-Standard Terms”, die hauptsächlich die anwendungsbedingten Bewegungsfreiräume (Lagermontage/Lagerbetrieb) von mechanischen Lagerbauteilen untereinander kontextualisieren sollen.
… mehr zu “Lagerfertigung!” >>>
Für “nicht verbaute Lager” (bei ungefähr +20 °C)
“Lagerfertigungsspiel (Non-Standard Term)” —> Spiel eines nicht eingebauten Lagers in radialer und/oder axialer Richtung!
“axiales Lagerfertigungsspiel (Non-Standard Term)” —> Spiel eines nicht eingebauten Lagers in axialer Richtung!
“radiales Lagerfertigungsspiel (Non-Standard Term)” —> Spiel eines nicht eingebauten Lagers in radialer Richtung!
Adäquate Standard-Terme —> Lagerluft, axiale Lagerluft, Axialluft, radiale Lagerluft
… mehr zu “Lagermontage!” >>>
Für “verbaute Lager/Lageranordnungen” (bei ungefähr +20 °C)
“Lagermontagespiel (Non-Standard Term)“ —> Spiel eines eingebauten und betriebsbereiten Lagers oder Lageranordnung in radialer und/oder axialer Richtung. Für O- bzw. X-Anordnungen kann per Vorgabe ein axiales Spiel < 0 mm eingestellt werden (Lagermontagevorspannung).
“Lagermontagevorspannung (Non-Standard Term)” —> Eine im Ruhezustand einer O- bzw. X-Lageranordnung auf beide Lager einwirkende axiale Kraft, welche eine elastische Verformung auf Basis des eingestellten “negativen Lagermontagespiels” erzeugt!
Für das “Lagermontagespiel” kann ein “negativer” Wert, ein “positiver” Wert oder ein Wert von 0,000 mm (≙ spielfrei) eingestellt werden. Abweichend von den allgemeingültigen Definitionen wird der “Null-Wert” dem “positiven” Bereich zugeordnet.
Adäquate Standard-Terme —> Lagervorspannung, Montagespiel
… mehr zur Lagermontage bei O/X-Lageranordnungen! >>>
“Lagermontagespiel” und “Lagerfertigungsspiel” können unterschiedlich sein, wenn Teile eines Lagers oder einer Lageranordnung beim Einbau planmäßig oder außerplanmäßig verformt werden. Insbesondere bei O-Lageranordnungen (aber auch bei X-Lageranordnungen) mit paarweise spiegelbildlich verbauten Kegelrollenlager können geplante Verformungen beim Einbau erforderlich sein, um eine Lageranordnung entsprechend den Anforderungen betriebsfertig zu machen. Die dabei genutzten Verschiebewege bewegen sich selbstverständlich im Rahmen der elastischen Verformung und dürfen die Elastizitätsgrenzen von beteiligten Lagerungskomponenten bei Umgebungstemperatur und im Betriebstemperaturbereich nicht überschreiten (siehe auch “Hertzsche Pressung“).
Beim Einbau von Lager in O- bzw. X-Anordnungen, dem sogenannten “Anstellen” werden die axialen Abstände zweier gegenüberliegender Rollbahnelemente (Laufbahnringe der Wälzkörper) nach Vorgabe “starr” oder “flexibel” (z. Bsp. mithilfe von Federringe o. ä.) eingestellt. Bei O-Anordnungen werden die Abstände der Lagerinnenringe und bei X-Anordnungen werden die Abstände der Lageraußenringe eingestellt.
Auf Basis der Vorgabe kann ein positives “Lagermontagespiel” (Spiel 0 mm oder Spiel > 0 mm) oder ein negatives “Lagermontagespiel” (Spiel < 0 mm) eingestellt werden. Wird ein Spiel < 0 mm eingestellt, so spricht man von einer “Lagervorspannung” oder auch von einer “Lagermontagevorspannung“. Zur Einstellung einer “Lagermontagevorspannung” kann der Vorgabewert in Form einer Vorspannkraft oder eines einzustellenden Vorspannweges (Verschiebeweg) angegeben werden. Alternativ kann eine “Lagermontagevorspannung” auch über ein Reibungsmoment eingestellt werden.
Das bei der Lagermontage eingestellte “Spiel” (Lagermontagespiel) kann sich beim Erreichen der Lagerbetriebstemperatur je nach Lageranordnung vergrößern, verkleinern oder es bleibt unverändert. Damit sind das “Lagermontagespiel” und die Art der verwendeten Lagerunganordnung entscheidende Einstellflussfaktoren für das “Lagerbetriebsspiel” und den damit verbundenen Lagerungseigenschaften.
Falls bei X-Lageranordnungen Temperaturdifferenzen zwischen Lagerinnenring und Lageraußenring auftreten, erfolgt eine Verringerung des “Lagermontagespiels” zu einem eventuell unerwünschten Spiel (Lagerbetriebsspiel oder destruktives Lagerbetriebsspiel) und es kann eine ebenfalls unerwünschte Lagerspannung (Lagerbetriebsspannung oder destruktive Lagerbetriebsspannung) entstehen oder eine eventuell bereits vorhandene “Lagermontagevorspannung” kann sich weiter zu einer unerwünschten Lagerspannung (Lagerbetriebsspannung oder destruktive Lagerbetriebsspannung) erhöhen.
Bei O-Lageranordnungen sind einige Rahmenbedingungen (z.Z. noch Klärungsbedarf) in Verbindung mit speziellen Konstruktionsgrößen für das Temperaturverhalten ausschlaggebend. Aus der Neigung der Lageraußenringlaufbahn und dem Abstand der beteiligten “angestellten” Lager können die geometrischen Größen “Rollkegellinien” und “Rollkegelspitzen” für jedes Lager ermittelt werden. Die beiden Rollkegellinien eines Lagers bilden in einem gemeinsamen Schnittpunkt mit der Lagerachse die sogenannte Rollkegelspitze.
Liegen beide Rollkegelspitzen in einem gemeinsamen Punkt auf der Lagerachse, so gleichen sich die axialen und radialen Temperatureffekte aus und das “Lagermontagespiel” bleibt als “Lagerbetriebsspiel“, die “Lagermontagevorspannung” als “Lagerbetriebsspannung” erhalten.
Haben beide Rollkegelspitzen einen positiven Abstand auf der Lagerachse, so wirken sich die axialen Temperatureffekte stärker auf das “Lagerbetriebsspiel” aus als die Radialen und das eingestellte “Lagermontagespiel” vergrößert sich zu einem eventuell unerwünschten Spiel (Lagerbetriebsspiel oder destruktives Lagerbetriebsspiel). Eine eingestellte “Lagermontagevorspannung” kann zu einer unerwünschten Lagerspannung (Lagerbetriebsspannung oder destruktive Lagerbetriebsspannung) verringert werden bzw. ganz verloren gehen (inexistente Axialkraft).
Haben die beiden Rollkegelspitzen einen negativen Abstand auf der Lagerachse (Überlappung), so wirkt sich die radiale Dehnung stärker auf das “Lagerbetriebsspiel” aus als die axiale Wärmedehnung. Das eingestellte “Lagermontagespiel” wird zu einem eventuell unerwünschten Spiel (Lagerbetriebsspiel oder destruktives Lagerbetriebsspiel) verringert und eine eventuell eingestellte “Lagermontagevorspannung” kann sich zu einer unerwünschten Lagerspannung (Lagerbetriebsspannung oder destruktive Lagerbetriebsspannung) erhöhen.
Mit einem optimal eingestellten “Lagermontagespiel” und dem daraus resultierenden “Lagerbetriebsspiel” bzw. “Lagerbetriebsspannung” werden alle Wälzkörper eines betriebenen “angestellten” Lagers gleichmäßig an der Verteilung der Lagerlast unter voller Ausnutzung der Lagertragfähigkeit beteiligt, und die eingestellten Lagerungseigenschaften bleiben maximal lange erhalten. Dabei werden Schwankungen der Wälzkörperdurchmesser ausgeglichen und es kann sich ein “heterogener” Verbund aus gleichmäßig und minimiert belasteter Wälzkörper formieren, welcher Garant für die Vermeidung von Schlupfschäden und Abrollstörungen ist. Werden die Lager einer O- bzw. X-Lageranordnung so eingestellt, das beim Lagerbetrieb eine zu geringe “Lagerbetriebsspannung” entsteht, so können durch die daraus resultierenden suboptimalen Wälzkörperführungen Schäden entstehen, die die Lebensdauer der Lager verkürzen.
Werden Kegelrollenlager, die mit der größtmöglichen Anzahl von Wälzkörpern ausgestattet sind, beim Verbauen in einer O- bzw. X-Lageranordnung so eingestellt, dass sie bei Erreichen der Betriebstemperatur in die Nähe ihrer Elastizitätsgrenze kommen, ergibt sich theoretisch eine maximale Steifigkeit, verbunden mit einem sehr guten Wert für die Axialruhe der Arbeitsspindel. Allerdings besteht hier die Möglichkeit, dass durch die erhöhten Reibungsverluste Thermoeffekte entstehen, die sich nachteilig auf die Betriebseigenschaften der Lagerung auswirken können.
… mehr zu “Normaler Lagerbetrieb!” >>>
Für “verbaute Lager/Lageranordnungen im Betriebszustand” (Normaler Betrieb bei stabiler Betriebstemperatur bzw. stabilem Betriebstemperaturbereich mit berechnetem/erwartbarem Verschleiß)
“Lagerbetriebsspiel (Non-Standard Term)“ —> Spiel eines eingebauten Lagers oder Lageranordnung im Betriebszustand in axialer und/oder radialer Richtung, bei Lageranordnungen i.d.R. in axialer Richtung!
“Lagerbetriebsspannung (Non-Standard Term)” —> Eine im Betriebszustand einer O- bzw. X-Lageranordnung auf beide Lager einwirkende axiale Kraft, welche eine elastische Verformung (Modifikation der Wälzkörperführungen) auf Basis des eingestellten “Lagerbetriebsspiels” erzeugen kann und damit die Lagerungseigenschaften (Steifigkeit, Wellenführung, Lagergebrauchsdauer, Laufgenauigkeit, Laufgeräusche etc.) bestimmt.
Das “Lagerbetriebsspiel” kann sowohl “positive” als auch “negative” Werte annehmen (abweichend von den allgemeingültigen mathematischen Definitionen wird ein 0-Wert dem positiven Bereich zugeordnet).
Adäquate Standard-Terme —> Betriebsspiel
Mit Erreichen einer durch thermische Einträge von Prozesskräften, Reibungskräften und Motorabwärme resultierenden stabilen Betriebstemperatur bzw. Betriebstemperaturbereiches wird der elastische Verformungszustand eines korrekt verbauten Lagers bzw. Lageranordnung quasi “eingefroren” und es finden kaum noch weitere Dehnungen, Schiebungen oder Winkelveränderungen statt. Der daraus final resultierende Bewegungsfreiraum der Lagerbauteile gegeneinander wird als “Lagerbetriebsspiel” bezeichnet.
… mehr zu “Destruktiver Lagerbetrieb!” >>>
Für “verbaute Lager/Lageranordnungen” im unzulänglichen Betriebszustand (Destruktiver Betrieb mit schädigendem Betriebsspiel und verkürzter nicht erwartbarer Lagerlebensdauer)
“destruktives Lagerbetriebsspiel (Non-Standard Term)” —> Ein durch fehlerhafte Voreinstellung des “Lagermontagespiels” oder durch thermische/mechanische Effekte verursachtes zu “großes” oder zu “kleines” unzulässiges “Lagerbetriebsspiel” eines unzulänglich betriebenen Lagers bzw. Lageranordnung. Kühlt die Lageranordnung wieder auf Umgebungstemperatur ab, so kann sich ein “falsches” und destruktives Lagermontagespiel einstellen, welches “größer” oder “kleiner” als das ursprünglich eingestellte Lagermontagespiel der nicht geschädigten Lageranordnung sein kann.
“destruktive Lagerbetriebsspannung (Non-Standard Term)“ —> Eine im unzulänglichen Betriebszustand einer O- bzw. X-Lageranordnung auf beide Lager einwirkende, zu große axiale Kraft oder zu kleine “inexistente” axiale Kraft. Kühlt die Lagerung wieder auf Umgebungstemperatur ab, so kann sich eine “falsche” und destruktive Lagermontagevorspannung einstellen, welche “größer” oder “kleiner” als die ursprünglich eingestellte Lagermontagevorspannung der nicht geschädigten Lageranordnung sein kann.
Das “destruktive Lagerbetriebsspiel” kann sowohl “negative” als auch “positive” Werte annehmen.
Steigt bei einem zu kleinen “destruktives Lagerbetriebsspiel” die Betriebstemperatur unzulässig an wird die Elastizitätsgrenze überschritten und Bauteile einer Lageranordnung werden plastisch verformt. Bei einem zu großen “destruktives Lagerbetriebsspiel” (inexistente Axialkraft) wird die plastische Formänderung durch mechanische Kräfte (Materialabtrag) verursacht. In beiden Fällen verschlechtert sich das Betriebsverhalten hin bis zum Lagerausfall.
Überblick
Nach Instandsetzung des Elektroantriebes habe ich bei Umgebungstemperatur eine kurze und oberflächliche Inspektion der anzutreibenden D6000-Mechanik im abgekühlten Zustand durchgeführt. Alleine die indirekt angetriebene Hauptspindel (O-Lageranordnung), der wichtigste Bestandteil der anzutreibenden Mechanik, war doch etwas schwergängig und leicht hakelig, der Widerstand beim Drehen von Hand wurde als ungleichmäßig wahrgenommen, was ein leichtes Unbehagen hervorgerufen hat.
Zieht man die Betriebsanleitung (Stand 10/2014, Seite 48) zu dem Thema “Hauptspindellagerung” zurate, so ist zu erfahren, dass sich die Hauptspindel beim Nachjustieren “leicht” von Hand drehen lassen muss und dass die Lager “spielfrei” laufen müssen; ich gehe davon aus, dass mit “spielfrei” das “Lagermontagespiel” gemeint ist. Leider ist diese Beschreibung für den aktuellen Zustand der Hauptspindel (leicht zu drehen/spielfrei) nicht zutreffend. Bei der Inbetriebnahme 2016 wurde nicht geprüft ob die Hauptspindellagerung “spielfrei” oder mit einem negativen bzw. positiven “Lagermontagespiel” eingestellt war.
Des weiteren ist vermerkt, dass zu fest eingestellte Kegelrollenlager kurzfristig unbrauchbar werden. Dieses könnte, obwohl die Lagerung nicht nachjustiert wurde, schon eher zutreffen, da das mit “0,000” mm gemessene axiale “Spiel” selbst mit großer Axialkraft nicht um 1 µm verändert werden konnte, was auf ein betriebsbedingt entstandenes “destruktives Lagerbetriebsspiel” oder auf ein ursprünglich falsch eingestelltes “Lagermontagespiel” hinweisen könnte.
Basierend auf den in “… ein bisschen versimpeltes Halbwissen!” beschriebenen Lageranordnungen lassen sich für die verbaute O-Lageranordnung 3 Gruppen von hypothetischen Betriebsszenarien klassifizieren.
… mehr zu den Betriebsszenarien >>>
Szenariogruppe 1
Screenshot-Quellenangabe: https://medias.schaeffler.de/de/design-of-bearing-arrangements
Die Rollkegelspitzen der beiden Kegelrollenlager liegen in einem gemeinsamen Punkt auf der Lagerachse so dass sich die thermischen Effekte kompensieren und das ursprünglich eingestellte Lagermontagespiel erhalten bleibt.
Diese Gruppe ist nicht relevant da sich das “aktuelle” Lagermontagespiel mit hoher Wahrscheinlichkeit im Laufe der Zeit verändert hat. Ich gehe davon aus, dass es sich verringert hat.
– Keine Szenarien!
Szenariogruppe 2
Screenshot-Quellenangabe: https://medias.schaeffler.de/de/design-of-bearing-arrangements
Die Rollkegelspitzen der beiden Kegelrollenlager haben einen positiven Abstand auf der Lagerachse. In dieser Gruppe bewirken die thermischen Effekte eine Vergrösserung des Lagermontagespiels bei Lagererwärmung. Diese Gruppe hat ebenfalls keine Relevanz da sich das Montagespiel im Laufe der Zeit verringert hat.
– Keine Szenarien!
Szenariogruppe 3
Screenshot-Quellenangabe: https://medias.schaeffler.de/de/design-of-bearing-arrangements
Die Rollkegelspitzen der beiden Kegelrollenlager haben einen negativen Abstand auf der Lagerachse (Überlappung). Bei Überschneidung der Rollkegellinien verringert sich das Lagermontagespiel bei Erwärmung.
Szenario-31 (Normalzustand)
– Betrieb der O-Lageranordnung bei stabiler Betriebstemperatur bzw. stabilem Betriebstemperaturbereich
– Hauptspindellager wurde ursprünglich mit einem positiven Lagermontagespiel oder spielfrei angestellt
– Das sich einstellende “Lagerbetriebsspiel” liegt kurzfristig, mittelfristig und langfristig innerhalb der Toleranzgrenzen!
Szenario-32 (Bedienerfehler)
– Betrieb der O-Lageranordnung bei unzulässig hoher Betriebstemperatur
– Hauptspindellager wurde ursprünglich mit einem positiven Lagermontagespiel oder spielfrei angestellt
– Das sich einstellende “Lagerbetriebsspiel” liegt kurzfristig innerhalb der Toleranzgrenzen, mittelfristig und längerfristig aber außerhalb der Toleranzgrenen!
Szenario-33 (Initiales Lagermontagespiel zu klein)
– Betrieb der O-Lageranordnung bei stabiler Betriebstemperatur bzw. stabilem Betriebstemperaturbereich
– Hauptspindellager wurde ursprünglich mit einem positiven Lagermontagespiel oder spielfrei angestellt
– Das sich einstellende “Lagerbetriebsspiel” liegt unmittelbar außerhalb der Toleranzgrenzen oder aber kurzfristig innerhalb der Toleranzgrenzen und dann außerhalb der Toleranzgrenzen!
Szenario-34 (Initiales Lagermontagespiel zu groß)
– Betrieb der O-Lageranordnung bei stabiler Betriebstemperatur bzw. stabilem Betriebstemperaturbereich
– Hauptspindellager wurde ursprünglich mit einem positiven Lagermontagespiel oder spielfrei angestellt
– Das sich einstellende “Lagerbetriebsspiel” liegt ab Inbetriebnahme außerhalb der Toleranzgrenzen!
Szenario-35 (Initiales Lagermontagespiel zu klein mit daraus resultierendem Bedienerfehler)
– Betrieb der O-Lageranordnung bei unzulässig hoher Betriebstemperatur
– Hauptspindellager wurde ursprünglich mit einem positiven Lagermontagespiel oder spielfrei angestellt
– Das sich einstellende “Lagerbetriebsspiel” liegt unmittelbar außerhalb der Toleranzgrenzen!
Szenario-36 (Initiales Lagermontagespiel zu groß mit daraus resultierendem Bedienerfehler)
– Betrieb der O-Lageranordnung bei unzulässig hoher Betriebstemperatur und/oder plastischer Verformung von Lagerbauteilen
– Hauptspindellager wurde ursprünglich mit einem positiven Lagermontagespiel oder spielfrei angestellt
– Das sich einstellende “Lagerbetriebsspiel” liegt ab Inbetriebnahme außerhalb der Toleranzgrenzen!
Szenario-37 (Instabiler Normalzustand)
– Betrieb der O-Lageranordnung bei stabiler Betriebstemperatur bzw. stabilem Betriebstemperaturbereich
– Hauptspindellager wurde ursprünglich mit einem positiven Lagermontagespiel oder spielfrei angestellt
– Das sich einstellende “Lagerbetriebsspiel” liegt kurzfristig und mittelfristig innerhalb der Toleranzgrenzen, durch selbstververstärkende thermische Effekte wird langfristig die Toleranzgrenze für das “Lagerbetriebsspiel” überschritten!
Normalzustand (31)
Wäre das Szenario 31 zutreffend, so würde sich die Hauptspindellagerung im Normalzustand befinden und eine Überprüfung bzw. Demontage wäre nicht notwendig gewesen.
Bedienerfehler (32)
Das Szenario 31 deutet darauf hin, das beim Betrieb der Maschine eigenverschuldete Probleme ignoriert oder nicht wahrgenommen wurden was als Bedienerfehler gewertet wird. Hier ist eine Demontage mit Kontrolle des Lagers gerechtfertigt.
Montagefehler (33)
Mit dem Szenario 33 ist eine Überprüfung/Demontage angebracht, da die Lagerung fehlerbehaftet ist.
Montagefehler mit daraus resultierendem Bedienerfehler (35)
Sollte das Szenario 35 zutreffen so ist auch hier eine Überprüfung/Demontage angebracht gewesen.
Instabiler Normalzustand (37)
Sollte das Szenario 37 zutreffen so ist auch hier eine Überprüfung/Demontage angebracht gewesen.
Komponenten der anzutreibenden Mechanik
Folgende Komponenten und Bauteile werden überprüft und eventuell instand gesetzt:
- Hauptspindel
- Leitspindel
- Riemengetriebe, Vorschubgetriebe und Wendeherzgetriebe
Gleich eins vorweg, der hier praktizierte Ausbau der Hauptspindel ist nicht unbedingt nachahmenswert. Es gibt schonendere Möglichkeiten wie Abziehen mit Spezialwerkzeug. Siehe auch den Beitrag “Überarbeitung meiner Holzmann ED 300FD” von Norbert (Norbert_F) in der “Zerspanungsbude”.
Nach Demontage des “Wendeherzes” wurden Lagersicherungsmutter, Riemenscheibe sowie beide Buchsen und Zahnrad von der Hauptspindel entfernt. Nun wurden die sechs Senkkopfschrauben der beiden Lagerflansche gelöst, der antriebsseitige Flansch entfernt und sichtbar wurden jetzt ein kräftig geschmierter Rollenkäfig mit Lagerinnenring und Lageraußenring.
Bei aufgeschraubtem Flansch ermöglicht die kleine halbrunde Ausbuchtung unter dem Schmiernippel das Eindringen des Fettes in das Lagerinnere. Bei Überdruck kann das überschüssige Schmiermittel aus dem Lager in das Innere des Spindelstocks entweichen.
Die Hauptspindel wurde mit kleinen, schonenden, rückschlagfreien Hammerschlägen aus dem Spindelstock getrieben. Diese Methode könnte sich spätestens bei der Achsen-Vermessung als suboptimal erweisen (Stichwort: Spindelstockausrichtung). Bezüglich des Lagers bin ich optimistischer und nehme an, dass das Lager der mechanischen Beanspruchung standgehalten hat, was aber vor einer eventuellen Wiederverwendung überprüft werden muss. Der antriebsseitige Lagerinnenring/Lagerrollenkorb und Flansch wurden erst mal auf der Hauptspindel belassen.
Vermessung der Hauptspindel
Da beide Lager aufgrund der Spindelkonstruktion nur von einer Seite montiert werden können, wurde der Spindeldurchmesser so bemessen (Ø ≈ 44,5 mm), dass die Lagerinnenringe (Ø ≈ 45,0 mm) der baugleichen Lager ohne Kraftaufwand auf der Spindel bewegt werden können (ausgenommen gerändelter Lagersitz und arbeitsseitiger Lagersitz). Wegen der sehr rauen Hauptspindel-Oberfläche sind die mit Hilfe der beiden Prismen gemessene Rundlauf-Messwerte ungenau.
Spindelrundlauf (Spindelende und antriebsseitiger Lagersitz)
Die Rundlauf-Messungen wurden auf einer Messplatte (DIN 876/1) mithilfe zweier Prismenblöcke und einem Fühlhebelmessgerät (1/100) durchgeführt.
… mehr zur Messung am Spindelende >>>
Messung am Spindelende zwischen Passfedernut und Gewinde für Einstellmutter (Nullung an Passfedernut): +4/100 mm bis -4/100 mm

… mehr zur Messung des gerändelten Lagersitzes >>>
Messung Rändelung (mittig) für antriebsseitiges Lager: +2/100 mm bis -3/100 mm

Spindeldurchmesser (antriebsseitiger Lagersitz)
Die Durchmesser des gerändelten Lagersitzes wurde mit einer digitalen Bügelmessschraube an 3 Stellen durchgeführt.
0°= 44,991 mm, 120° = 44,991 mm und 240° = 44,997 mm
Spindellängen
Mithilfe der ermittelten Spindelmaße, des Datenblattes und eines Lageraußenrings können die Abstände der Rollkegelspitzen (Rollenkegelspitzen) der O-Lageranordnung berechnet bzw. konstruiert werden.
Wertepaar-1: 334,35/334,35 => Länge der Spindel ≈ 334,35 mm
Wertepaar-2: 319,82/319,63 => rechnerische Länge des Lagereinstellgewindes ≈ 14,94 mm
Wertepaar-3: 240,46/240,42 => rechnerische Länge des Spindelteils (Ø<50 mm) ≈ 240,44 mm,
rechnerische Länge des Spindelteils ( (Ø ≈ 40,0 mm) mit Passfedernut ≈ 93,91 mm
Wertepaar-4: 238,80/??????? => Beginn gerändelter Lagersitz ≈ 238,80 mm
Wertepaar-5: 218,95/218,72 => rechnerische Breite des gerändelten Lagersitzes ≈ 19,96 mm
Wertepaar-6: 61,60/61,56 => Oberkante Rollenkäfig antriebsseitiges Lager ≈ 61,58 mm
Rechnerischer Abstand Rollenkäfig-Innenseiten ≈ 157,28 mm
Abstand Oberkante Lageraußenring zu Oberkante Rollenkäfig gemessen an Neulager ≈ 1,75 mm
Rechnerischer Abstand Lageraußenringinnenseiten ≈ 160,78 mm
Gemessener Abstand der Lageraußenringinnenseiten am Spindelstock: ≈ 163 mm
Gesamtbreite Neulager: ≈ 21,7 mm
Für die Rollkegelspitzen-Berechnung wird ein gemittelter Wert von 162 mm angenommen.
Lagersitze
… mehr zu Lagersitze >>>
Die Lagersitze (Stahl) für die Antriebs- und Arbeitsseite sind unterschiedlich gestaltet. Während der Lagersitz auf der Arbeitsseite bündig mit dem Spindelstock (Stahl) abschließt, ragt der Lagersitz auf der Antriebsseite etwa um Lageraußenringbreite aus dem Spindelgehäuse heraus.


Bauformbedingt kann in der antriebsseitigen Lagerumgebung eine andere Temperaturgradienten-Konstellation entstehen als in der arbeitsseitigen. Das kann bedeuten, dass die Wärmedehnungen und deren Auswirkungen in beiden Umgebungen unterschiedlich sein können.


Lageraußenring (antriebsseitig)
Nach Reinigung der Lageraußenringlaufbahn wurde diese abgetastet. Es konnten keine Unebenheiten gefühlt werden. Bei der optischen Inspektion des Laufbildes (Abrollspuren der Wälzkörper auf der Laufbahn) konnten ebenfalls keine Beschädigungen bzw. ungewöhnlicher Verschleiß festgestellt werden. Auffällig war, dass der Abstand der Laufspur zur Lageraußenringkante etwas ungleichmäßig und die Breite der matten Laufspur um einiges schmäler als die Länge der “Kontaktlinie” einer Kegelrolle (ca. 15 mm) war. So weit mir bekannt ist, haben die x-life Kegelrollen/Wälzkörper kein spezielles Rollenmantelprofil. Nach Ausbau des antriebsseitigen Lageraußenrings und Messung des Lagersitzes kann eine genauere Analyse der Laufspur vorgenommen werden.
Leider war eine exakte Messung des Abstandes zwischen der schmalen Lageraußenringaußenkante und dem Lagerflansch mit den vorhandenen Messmitteln nicht möglich.
Lageraußenring (arbeitsseitig)
Auf dem Lageraußenring konnten ebenfalls keine Beschädigungen oder ungewöhnlicher Verschleiß festgestellt werden.
Dieses Laufbild sah aber um einiges besser aus. Die Laufspurbreite lässt auf einen guten Kegelrollen-Linienkontakt schließen. Der Abstand der Laufspur zur Lageraußenringkante ist gleichmäßiger als beim antriebsseitigen Lager. Nach Ausbau des arbeitsseitigen Lageraußenrings und Messung des Lagersitzes kann auch hier eine genauere Analyse der Laufspur vorgenommen werden.
Lagerinnenring (arbeitsseitig)
Da Kegelrollenlager in O-Anordnung bei sehr kleinem bzw. negativen “Lagerbetriebsspiel” bezüglich einer Schiefstellung sehr empfindlich sind, wurde der Lagerinnenringsitz auf der Spindel vermessen.
Ermittlung des Winkels zwischen Lagerinnenring und Planfläche Arbeitsspindel
… mehr zur Winkelermittlung >>>
Die komplexen Laufringschiefstellungen werden durch verschiedene Einflussgrößen bestimmt. Als Hauptmitverantwortliche können Fluchtungsfehler zwischen Welle und Gehäusebohrung und zu hohe Axialkräfte benannt werden. Der hier gemessene Δ/360°-Wert ist nur ein Bestandteil zur Ermittlung/Abschätzung des Winkels.
Toleranzen Messplatte: DIN875/1
Lager-Fertigunstoleranz: P6 (P6XXL)
Planlaufgenauigkeit auf Planfläche Arbeitsspindel lt. Prüfprotokoll: 5 µm
Winkelfehler Fühlhebelmessgerät ca. 30°/0,86
Wiederholpräzision Fühlhebelmessgerät: 1 µm
Mit der Messuhr gemessenes Δ/360°: 16 µm, winkelfehler bereinigt 13,7 µm
Δ/360° 13,7 µm Gegenkathete für tan(α)
d1 62,2 mm Führungsborddurchmesser des Lagerinnenringes (Datenblatt)
d 45,0 mm Bohrungsdurchmesser (Datenblatt)
rm 26,8 mm mittlerer Messradius, Messspitze-Lagerachse (Rechenwert)
2rm 53,6 mm Ankathete für tan(α)
α 0,01464° Winkel dezimal (Rechenwert)
α 0° 0′ 53″ Winkel Grad, Bogenminuten, Bogensekunden (Rechenwert)
Bei den verbauten x-life Kegelrollenlagern der Maßreihe 20 darf die Verkippung (Winkeleinstellbarkeit) der Lagerringe zueinander maximal 0° 4′ 00″ betragen (bei Belastungsverhältnis P/Cr ≤ 0,2).
Messung der Lageraußenringrollbahn
… mehr zu Lageraußenringrollbahn >>>
Als Referenz für spätere Vergleiche wurde die Laufbahn eines neuen Lageraußenrings über die gesamte Laufbahnbreite vermessen. Dazu wurde der Lageraußenring in einen Sinus-Schraubstock gespannt, der mit dem Druckwinkelwert aus dem Lagerdatenblatt voreingestellt war. Durch Feinjustage mittels eines kleinen Holzhammers wurde der Schraubstock so nachjustiert, dass der Puppitaster an beiden Lageraußenringstirnseiten 0,000 mm anzeigte (exakter Druckwinkel 14,66667 °). Beim Abfahren mit der Messuhr über die gesamte Laufbahnbreite konnten keine Abweichungen von der Nulllinie festgestellt werden.
Neigung der Lageraußenringrollbahn (≈ Druckwinkel α)
… mehr zu Messung des Neigungswinkels >>>
Mit der Messuhr gemessen wurden 75,5° (≙75°, 30′), was einem Winkel von 14,5° (90°-75,5°=14,5°) entspricht. Der Neigungswinkel der Außenringlaufbahn kann näherungsweise dem Druckwinkel α gleichgesetzt werden, wobei der tatsächliche Wert etwas kleiner ist und von der Konstruktion des Wälzkörpers mitbestimmt wird. Der Wert im Lager-Datenblatt (Lager ohne Lageraußenring) ist mit 14,66667° angegeben. Nach der Messung des Neigungswinkels (≈ Druckwinkels α) an dem FAG 32009-X-XL Lageraußenring konnte von validen Daten zur Ermittlung der Rollkegelspitzen ausgegangen werden.
Abstandsermittlung der Rollkegelspitzen
… mathematisch >>>
α Druckwinkel (aus Datenblatt 14,66667 °)
C Breite des Lageraußenringes (aus Datenblatt 15,50 mm)
Dbmin Minimaler Durchmesser der Gehäuseschulter (aus Datenblatt 72,00 mm)
Aik Abstand Innenkanten Lageraußenringe (gemessener Mittelwert 162,00 mm)
Aak Abstand Außenkanten Lageraußenringe (Rechenwert)
Arr Abstand Rollkegelspitzen (Rechenwert)
Arr = Aak – 2 * [( Aik + 2 * C ) – Dbmin/2 : tan(α)]
Arr = Aik+2*C – 2 * [( 162 + 2 * 15,5) – 36 :0,2617234]
Arr = 193 – 2 * [ 193 – 36 : 0,2617234]
Arr = 193 – 2 * [ 193 – 137,549]
Arr = 193 – 2 * [ 55,451]
Arr = 193 – 110,90
Arr = 82,10 mm
… geometrisch >>>
Aus Gründen der Einfachheit wurde bei unten stehender Skizze die Neigung der Außenringlaufbahn zur Waagrechten als Druckwinkel α “deklariert”. Korrekterweise sei hier erwähnt, dass der tatsächliche Druckwinkel α etwas kleiner ist, da er der Neigung der Wälzkörper-Drehachse entspricht und nicht der Neigung der Wälzkörper-Mantellinie. Für die Bestimmung der Rollkegelspitzen ist dies nicht relevant da sich die Wälzkörper-Drehachse und die Wälzkörper-Mantellinie in gleichen Punkt auf der Lagerachse treffen.
Wie die Skizze zeigt, überschneiden sich die Rollkegellinien mit einem Rollkegelspitzenabstand von ca. 82 mm. Nach meinem derzeitigen Verständnis und Wissensstand hätte diese Lageranordnung mit einem positiven “Lagermontagespiel” aufgebaut werden müssen (Voraussetzung: 162 mm entspricht kurzem Lagerabstand) welches sich im Betriebszustand zu einem entsprechenden “Lagerbetriebsspiel” verringert.
Bezüglich der Anwendbarkeit der Rollkegelspitzen-Regelungen, vor allem deren thermische Auswirkungen, ist noch zu klären, ob die gegebene D6000-Lagerkonstruktion die Voraussetzungen für die Anwendbarkeit der Regelungen zu 100 % erfüllt. Wie sich das “Lagermontagespiel” in Abhängigkeit von der Lagertemperatur verhält, lässt sich mit Sicherheit erst nach dem korrektem Spindeleinbau in konstruktiv einwandfreie Lagersitze sagen.
Da ein Lagerpaar FAG 32009-X-XL schon für ca. 50 Euro zu haben ist (P5 etwa das doppelte, bei P5 ist Toleranz-Kompatibilität zu prüfen!) und bezüglich des vorgefundenen Lageraufbaus ein paar Unklarheiten herrschen, wäre ein Lagertausch eventuell sinnvoll.
Zwischenstand
Beide Lageraußenringe zeigen keinen auffälligen Verschleiß oder erkennbare plastische Verformungen. Lediglich das antriebsseitige Lager hätte aus meiner Sicht ein optimaleres Bild abgeben können. Die in der Lageraußenringrollbahn sichtbare Laufspur deutet m. E. nach auf eine ungleiche Wälzkörper-Lastverteilung hin, die entweder betriebsbedingte (Keilrippenriemenspannung?, Überschmierung?, unzulässige Betriebstemperatur?, destruktives Lagerbetriebsspiel?) und/oder fertigungsbedingte Ursachen (Montage?, Fluchtung?, Passungen? (elastische Aufweitung des Lageraußenrings)) haben könnte. Planungsbedingte Ursachen halte ich für äußerst unwahrscheinlich. Ich hoffe, dass sich nach Messung der Lagersitze (mit und ohne Lageraußenringe) und der demontierten Lageraußenringe mehr dazu sagen lässt.
Vergleicht man den aktuellen Zustand der Hauptspindellagerung mit den Ergebnissen der Rollkegelspitzenermittlung und den Wartungsangaben aus der Betriebsanleitung, so liegt der Schluss nahe, dass sich das axiale Spiel betriebsbedingt zu einem “destruktiven” “Lagermontagespiel” verringert hat. Die vorgefundene Lageranordnung kann deshalb den hypothetischen Betriebsszenarien 37 und/oder 32 zugeordnet werden.
Erwähnenswert sind auch noch einige Details zur Lagerwartung und Inbetriebnahme der Maschine. Für die Lagerwartung wurde das Wälzlager-Hochleistungsfett OKS 402 verwendet. Das Fett (Lithiumseife, Mineralöl und Additive) entspricht bezüglich der Konsistenzklasse (NLGI-Klasse 2 nach DIN ISO 2137) den Empfehlungen aus der Betriebsanleitung und wird vom Fett-Hersteller für “normalbelastete” Gleitflächen empfohlen. Die Viskosität von OKS 402 ist bei 40°C mit ca. 110 mm²/s und bei 100°C mit ca. 9 mm²/s angegeben. Die vom Hersteller FAG produzierten 32009-X-XL Kegelrollenlager sind Rollenlager mit Linienkontakt und sollten gemäß der Herstellerempfehlung (Schaeffler Technologies, TPI 176, Seie 66) , falls noch gültig mit einem Fett der Viskosität ISO-VG 150 bis 460 (Mittelpunktviskosität von 150 mm²/s bis 460 mm²/s) versorgt werden.
Dass die Lager wegen falscher Einschätzung der benötigten Fettmenge (Erhöhung der Schmierstoffreibung) geschädigt wurden, kann ich mit großer Wahrscheinlichkeit ausschließen, da das Altfett vom Neufett (Fettaustausch) ohne Druckaufbau verdrängt und in den Spindelstock abgeführt werden kann. Sowohl die Lager als auch das Fett wurden in den Nutzungsintervallen (außer Inbetriebnahmetests) weit unterhalb der maximal zulässigen Betriebstemperatur (x-life-Lager: Tmax 120 °C) bzw. der oberen Einsatztemperatur (OKS 402: 120 °C) betrieben bzw. eingesetzt. Selbstverständlich sollte eine zu große Fettmenge wegen Erzeugung unnötiger Reibungswärme und deren Folgen vermieden werden. Die Betriebstemperatur einer Drehmaschinenspindel sollte normalerweise ca. 50 °C betragen (Berthold Schlecht, Maschinenelemente 2, Seite 158).
Nach meinem jetzigen Kenntnisstand kann eine Überschmierung einer korrekt installierten und eingestellten D6000-Hauptspindellagerung erst zu Schäden führen, wenn Nutzungsintervalle mit zu hohen Betriebstemperaturen gefahren werden, die den mechanischen Aufbau durch Wärmeausdehnung und/oder Schmierstoffzersetzung (Schmierfilm zu dünn oder fehlt) überlasten. Der “Normal-Betrieb” einer überschmierten Maschine ist meiner Meinung nach also ohne weiteres möglich, solange während des Nutzungsintervalls keine zu hohen Temperaturen gefahren werden, sodass ein ausreichend dicker Schmierfilm vorhanden ist um Wälzkörper und Laufringe zu trennen. Schlechte Karten hingegen hat das Antriebssystem, da es permanent einer Mehrbelastung bzw. Überlastung durch eine zu hohe Schmierstoffreibung ausgesetzt ist. Bei einer zusätzlichen Verringerung des Lagerbetriebsspiels oder einer Lagerschädigung kann sich die Mehrbelastung bzw. Überlastung durch Anwachsen der Reibungsanteile nochmals erhöhen.
Um möglichst lange Freude an dem guten Stück zu haben, kann es nicht schaden, vor Inbetriebnahme der Maschine beim Hersteller nachzufragen, welche Schmierstoffe und Schmierstoffmengen bei der “Erstversorgung” verwendet wurden. Es ist aus meiner Sicht sinnvoll bei anstehenden Spindellagerwartungen das gleiche Produkt anzuwenden. Ein Nachfetten sollte nur bei Fettmangel oder bei notwendigem Fettaustausch vorgenommen werden. Wie man einen Fettmangel oder notwendigen Fettaustausch genau diagnostiziert, ist mir bis heute allerdings unklar. Um dieses Dilemma etwas zu entschärfen, könnten zusätzlich zum Abschmierplan/Motorüberlastschutz sporadische Temperaturmessungen hilfreich sein.
Da der elektrische Antrieb der D6000 (1,4 kW) meiner Einschätzung nach sehr fein auf eine normalgeschmierte und korrekt funktionierende Mechanik abgestimmt ist, muss der Schmierung (Fettmenge und Fettsorte) erhöhte Aufmerksamkeit geschenkt werden. Ursache dafür ist, dass das Gesamtreibungsmoment der anzutreibenden Mechanik proportional zur Drehzahl und/oder Fettmenge wächst, wohingegen sich das Drehmoment des verbauten Elektromotors umgekehrt proportional zur Drehzahl verhält und deshalb im oberen Drehzahlbereich sehr empfindlich auf unnötige und vermeidbare Mehrbelastungen (Schmierfilmdicke/Schmierstoffverdrängung) reagiert. Da bei hohen Gleitgeschwindigkeiten (und bei gleichbleibender Temperatur) eine niedrigere Viskosität benötigt wird, kann durch Wahl einer geeigneteren Schmierstoffviskosität dieses Verhalten unter Berücksichtigung bestimmter Faktoren (Lager-Herstellerempfehlungen, Schmierstoff-Herstellerempfehlungen, Maschinen-Herstellerempfehlungen) optimiert werden.
Rückblick zur Inbetriebnahme 2016
Bei Sichtung des ersten Testlauf-Protokolls fällt auf, dass der Überlastschutz des Motors bei höherer Drehzahl des Öfteren ausgelöst hat, obwohl die Maschine bereits einige Betriebsstunden im niedrigeren Drehzahlbereichen unterwegs war. Wie aus dem Protokoll ersichtlich ist, hat der Überlastschutz den Antriebsmotor bei Test#5 abgeschaltet. Da ich nicht wusste, woran das lag, wollte ich auf Nummer sichergehen und habe die Lager nachgefettet.
Mit meinem heutigen Wissensstand hätte ich die Hauptspindellager nicht nachgefettet, da das Nachfetten mit hoher Wahrscheinlichkeit kontraproduktiv war und im oberen Drehzahlbereich zu den thermischen Abschaltungen des Elektromotors während der Einlaufphase geführt hat.
Zur Validierung der Hauptspindellagerung und zur Verlaufskontrolle des Montage- und Lagerbetriebsspiels wäre es sehr hilfreich gewesen, wenn bei der Inbetriebnahme der Hobbymaschine das Spiel in den verschiedenen Betriebszuständen gemessen/kontrolliert worden wäre und die Messungen/Kontrollen in bestimmten Zeitabständen wiederholt worden wären. Zusammen mit den gemachten Temperaturaufzeichnungen wäre eine Bewertung der Lageranordnung bezüglich des “Betriebspiels” möglich gewesen. Da damals Messmittel nur begrenzt vorhanden waren, war dies nicht möglich!
… mehr zum Einlauftest >>>
Messhilfsvorrichtung zum Messen der Drehachsenausrichtung im Spindelstock
Bezüglich der Lagersitzfertigung hier noch ein relevanter Post aus der “Zerspanungsbude”.
… mehr zur Messhilfsvorrichtung >>>
Die mehrteilige Messhilfsvorrichtung ermöglicht eine indirekte Kopplung (Zugfeder) des Messuhrlagers mit einem Gegenlager/Druckscheibe, sodass Drehbewegungen von der einen auf die andere Lagerseite übertragen werden können, ohne dass eine starre wellenähnliche Verbindung besteht. Durch die mit ca. 200 Newton vorgespannte Zugfeder können sich die Wälzkörper des Lagerinnenrings/Lagerrollenkranzes, welcher die Messuhr trägt, “verkippungsfrei” im zu messenden Lageraußenring/Lagersitz ausrichten und damit den “natürlichen” Drehachsenverlauf der gemessenen Lagerseite anzeigen. Mithilfe der Drehachsenverläufe können eventuell vorhandene Abweichungen vom “geplanten” Drehachsenverlauf ermittelt werden.
Voraussetzungen/Annahmen für den Einsatz der Messhilfsvorrichtung:
– Bohrungsstirnflächen wurden planparallel mit den axialen Lagersitzflächen gefertigt
– axiale Lagersitzflächen/Radialebenen stehen rechtwinkelig zur geplanten Drehachse
– geplante Drehachse läuft durch Zentren der Passungungen/Radialebenen
– Messreihe-mA misst Drehachsenausrichtungen mit eingebauten Lageraußenringe
– Messreihe-oA misst Drehachsenausrichtungen ohne Lageraußenringe
– Messreihen-Auswertung kann eventuelle Fluchtungsfehler aufweisen
Bei den Ermittlungen der Drehachsenausrichtungen kann der Fluchtungsfehler (Radialversatz/Winkelversatz) nicht direkt gemessen, sondern muss mithilfe der gemessenen Abstandswerte zu den Bohrungsstirnflächen als Resultierende aus Winkelversatz und/oder Radialversatz rechnerisch ermittelt werden. Dabei wird davon ausgegangen, dass die “natürlich ausgerichteten” Drehachsen und die geplante Drehachse einen gemeinsamen Schnittpunkt in den Zentren der Radialebenen haben. Die Abweichung einer “natürlich ausgerichteten” Drehachse zur “geplanten” Drehachse wird hier als Drehachsenabweichungswinkel bezeichnet.
Die Radialversatzanteile des Fluchtungsfehlers sind nach dem Anstellen/Vorspannen (Drehachsenzwangsausrichtung) der Lager wirksam und bestimmbar. Die “vorteilhafteste” Drehachsenzwangsausrichtung einer mit Fluchtungsfehler behafteten O-Lageranordnung ist m.m.n. dann erreicht/gegeben, wenn einer der beiden Drehachsenabweichungswinkel beim Anstellen/Vorspannen der Lager so weit reduziert werden kann, bis sich seine relevante/anliegende Drehachse mit der “geplanten” Drehachse im Zentrum der Radialebene einer Lagerseite berühren, im Idealfall im Zentrum der Hauptlagerradialebene. Unter Hauptlager (Non-Standard Term) ist das Primärlager einer O-Lageranordnung zu verstehen, welchem die Hauptaufgaben zugeordnet werden können und dessen Eigenschaften deshalb besser als die des Sekundärlagers sein sollten!
Da die axiale Lagervorspannkraft auf beiden Lagerseiten gleich wirkt, wird der zweite Drehachsenabweichungswinkel beim Anstellen/Vorspannen ebenfalls/ungefähr um den gleichen Winkelbetrag reduziert. Die Zwangsausrichtung wird durch Drehung der “natürlich ausgerichteten” Drehachse um den gemeinsamen Schnittpunkt in den Zentren der Radialebenen bewerkstelligt. Die dabei entstandenen Koordinatendifferenzen werden den realen Radialversätzen gleichgesetzt. Die relevanten Winkelversatzanteile des Fluchtungsfehlers ergeben sich aus den Differenzwerten der Lageraußenringverkippungen gegeneinander.
Sind die Drehachsenverläufe der beiden “natürlich ausgerichteten” und der “geplanten” Drehachse nicht identisch, so entsteht bei der Lagermontage eine erzwungene, nicht geplante, suboptimale Drehachse, die eine “Verspannung/Verkantung” der Lageranordnung mit entsprechenden Verkippungen der Rollbahnelemente verursachen kann. Durch thermische Effekte beim Lagerbetrieb kann sich die Verspannung der Lageranordnung nochmals erhöhen, wodurch die Lager noch stärker unsymmetrisch belastet und geschädigt werden können. Primär exponiert sind hierbei Lagerbauteile mit Gleitreibungsflächen. Die Verkippung/Winkeleinstellbarkeit muss innerhalb der für das Lager angegebenen Toleranz liegen. Für Kegelrollenlager ist eine maximale Verkippung von 0° 4′ 00″ bei einem Belastungsverhältnis von P/Cr ≤ 0,2 zulässig.
Die Bestimmung des Fluchtungsfehlers mit obiger Methode ist m.M.n. eine brauchbare Näherung und gilt nur unter den oben beschriebenen Voraussetzungen/Annahmen.
Hypothese: Eine Drehachsenzwangsausrichtung mit unterschiedlichen Lagerringverkippungen birgt das Risiko, dass die mechanische Asymmetrie zwischen Antriebs- und Arbeitsseite ursächlich für einen sich zeitversetzt einstellenden unzulänglichen Betriebszustand der O-Lageranordnung sein kann!
Messreihe-mA: Drehachsenausrichtung mit Lageraußenringe
… mehr zur Messung >>>
Für jede Lagerseite wurden 3 Messfolgen für jeden der 3 Messkreise durchgeführt und die daraus resultierenden Durchschnittswerte ermittelt. An den 3 Flanschbohrungen konnten nur Messpunkte für den Messkreis 3 angefahren werden, sodass insgesamt 30 Messpunkte zur Verfügung standen.
Die Messpunkte der Messkreise 1, 2 und 3 wurden durch Rotation von der jeweils gegenüberliegenden Lagerseite durch Drehen des Augbolzen angesteuert.
Die Messpunkte Mp13/Mp23, Mp17/Mp27 und Mp111/Mp211 beider Lagerseiten mussten wegen der Flanschbohrungen ausgelassen werden.
… mehr zur Messung der Antriebsseite >>>
Die Stirnfläche der Lagerbohrung wurde vor den Messungen mit 800-er Nassschleifpapier etwas gesäubert. Bedingt durch die Oberflächenbeschaffenheit der Stirnfläche resultierte eine höhere Streuung der Messwerte bei Messungen mit der 1/1000-Messuhr. Messungen mit dem Fühlhebelmessgerät wären zwar sinnvoller (und exakter) gewesen, konnten aber konstruktiv (Messhilfsmittel) nicht umgesetzt werden.
… mehr zur Messung der Arbeitsseite >>>
Bei der Messung der Arbeitsseite wurde anstelle der 1/1000-Messuhr eine 1/100-Messuhr verwendet. Die Bohrungsstirnfläche wurde wegen ihrer glatten Oberflächenbeschaffenheit nur mit Isopropanol gereinigt.
Hier bei der Messung des Mp112 (Messpunkt 12 im Messkreis 1) in der Messfolge 1.
MARS
… mehr zu den Messergebnissen >>>
Vertikale Fluchtungsfehler
Außenringverkippungen Y-Achse (gegeneinander):
ΔMp7=Mp7(Arbeit)-Mp7(Antrieb) =0,07mm-0,04mm=0,03mm ΔMp7= 3/100 mm
ΔMp1=Mp1(Arbeit)-Mp1(Antrieb) =0,00mm-0,00mm=0,00mm ΔMp1= 0/100 mm
Horizontale Fluchtungsfehler
Außenringverkippungen X-Achse (gegeneinander):
ΔMp10=Mp10(Arbeit)-Mp10(Antrieb) =0,07mm-0,05mm=0,02 mm ΔMp10= 2/100 mm
ΔMp4=Mp4(Arbeit)-Mp4(Antrieb) =0,01mm-0,00mm=0,01 mm ΔMp4= 1/100 mm
Achsenausrichtungen und Fluchtungsfehler
Fluchtungsfehler
| Antriebsseite | Maximaler Fluchtungsfehler (x/y-Diagonale) ≈ 0,204mm | Winkel α in Grad ≈ 0,05994 | Grad-Minuten-Sekunden ≈ 0°3’36” | ||||||||||
| Arbeitsseite | Maximaler Fluchtungsfehler (x/y-Diagonale) ≈ 0,144mm | Winkel α in Grad ≈ 0,04231 | Grad-Minuten-Sekunden ≈ 0°2’32” | ||||||||||
Die bisherigen Auswertungen deuten überwiegend auf schrägverspannte Lager durch nicht fluchtende Gehäusesitze hin (vorbehaltlich Mr-oA ≡ Mr-mA). Bei der Ermittlung des Fluchtungsfehlers durch Winkelfehler und/oder Radialversatz gehe ich von 3 Hypothesen aus.
Hypothese 1: Winkelversatz ohne Radialversatz
Bei der ersten Hypothese wird der minimale statische Winkelversatz aus den Verkippungen der Lageraußenringe gegeneinander ermittelt, also ohne Verkippungen, die einem eventuell vorhandenen Radialversatz geschuldet sind. Der Höchstwert für die Verkippung der Lageraußenringe gegeneinander liegt bei 0,03 mm, was einem maximalen Winkelfehler von 0°0’38” entspricht. Dieser Wert entspricht dem statischen Winkelversatz ohne Parallelversatz/Radialversatz.
Hypothese 2: Minimaler Winkelversatz mit Radialversatz
Bei der zweiten Hypothese wird der Winkelversatz unter Vernachlässigung des radialen Achsenversatzes ermittelt (identische Zentren von geplanter und versetzter Achsen in den Radialebenen beider Lagerseiten), indem die Endpunkte der “natürlichen” Drehachsen beider Lagerseiten beim Anstellen/Vorspannen/Verkanten in Richtung Zentrum der “geplanten” Drehachse bewegt/gezwungen werden. Die hierbei entstandenen Winkelveränderungen beider “natürlicher” Drehachsen sind identisch und entsprechen einem Wert von 2 * 0°2’32” (0°5’04”).
Hypothese 3: Maximaler Winkelversatz mit Radialversatz
Bei der dritten Hypothese werden die “natürlichen” Drehachsen beider Lagerseiten kongruent mit der geplanten Drehachse ausgerichtet. Hierbei ergibt sich ein maximaler Winkelversatz von 0°3’36” + 0°2’32” (0°6’08”).
Auswirkung der Verkippungen auf Hauptspindel
Obigen Hypothesen ist gemein, dass ein vorhandener Winkelversatz/Radialversatz bei der Lagermontage/Lagerbetrieb unterschiedliche Fehlstellungen zwischen den Innenringen und Außenringen der Lageranordnung verursachen kann, welche ihrerseits Gegenkräfte auf die Lagerwelle/Hauptspindel übertragen können. Je nach Dimensionierung der beteiligten Lagerkomponenten, der Höhe der Lagervorspannung, dem Grad des Fluchtungsfehlers sowie der Kipprichtung der Lagerinnenringe zueinander kann die Lagerwelle dabei elastisch bis plastisch verformt werden. Der für eine eventuelle Wellenverformung verantwortliche Höchstwert für die Verkippung der Lageraußenringe gegeneinander liegt bei 0,03 mm (0°0’38”) und kann meiner Einschätzung nach durch die noch vorhandene Winkeleinstellbarkeitsreserve der Lagerung kompensiert werden, sodass keine Kräfte auf die Hauptspindel übertragen werden und eine Wellenbiegung mit höchster Wahrscheinlichkeit ausgeschlossen werden kann (vorbehaltlich Mr-oA ≡ Mr-mA).
Die bisherigen Ergebnisse/Aussagen sind nur unter dem Vorbehalt der bereits gemachten Voraussetzungen/Annahmen zu interpretieren. Toleranzen der Messeinrichtung und der Kegelrollenlager wurden bei den Messungen nicht berücksichtigt. Wie bereits erwähnt sind die bisherigen Ergebnisse nicht unbedingt in der Rubrik “Fachlich & kompetent” einzuordnen. Sie sollen lediglich etwas zur Unterhaltung und Inspiration beitragen und dürfen dementsprechend unbedingt kritisch gesehen und auch angezweifelt werden!
Für mich ist der festgestellte Fluchtungsfehler (Vorbehalt: keine Abweichungen zwischen Messreihe-mA mit ausstehender Messreihe-oA) in Verbindung mit den Laufbildern der Lageraußenringlaufbahnen und der Verkürzung des axialen Lagermontagespiels dem Betriebsszenario 37 zuzuordnen und damit verantwortlich für den Zustand der vorgefundenen Lageranordnung. Das Szenario 32 schließe ich aus den bereits im “Zwischenstand” beschriebenen Gründen aus!
… mehr zur Nachmessung der Hauptspindel >>>
Obwohl ich aufgrund der Lagerungsdimensionierung eine durch Fluchtungsfehler bedingte Spindelverformung für ausgeschlossen halte, wurde die Hauptspindel diesbezüglich einer Nachmessung unterzogen. Zwecks Egalisierung der doch sehr rauen Oberfläche zwischen den Lagersitzen wurde die Spindel mit 600-er Nassschleifpapier bearbeitet. Wegen der Oberflächenrauheit wurde beim Messen der “Durchbiegung” auf den Einsatz von Messgeräten mit Fühlhebel bzw. Messspitze verzichtet. Stattdessen wurde ein Höhenmessgerät mit einem 2″-long-bar verwendet.
Die Spindel wurde in 3 Sektoren (0°, 120° und 240°) eingeteilt, bei der Messreihe-1 wurde die “Biegung” zwischen den Lagersitzen (3 Messpunkte je Sektor), bei der Messreihe-2 wurde die “Biegung” mit den Lagersitzen (2 Messpunkte je Sektor auf Mitte Lagersitz) gemessen. Die Lagerung der drehbaren Spindel im Prismenblock erfolgte unter Berücksichtigung einer eventuell vorhandenen Biegung.
Nach Nullung am Mp-1 der Spindel wurde der Schieber des Höhenmessers mit dem Handrad angehoben und der Höhenmesser zum nächsten markierten Messpunkt verschoben. Mithilfe der Farbmarkierungen auf der Hauptspindel und dem 2″-long-bar konnte der im Schieber geklemmte Messuhrträger (2″-long-bar) zielgenau durch sensibles Absenken mittels des Handrades beim nächsten Messpunkt positioniert werden. Die Messergebnisse wurden fotografisch dokumentiert.
Messreihe-1 (2 Messfolgen in 3 Messebenen a 3 Messpunkten)
Messreihe-2 (4 Messfolgen in 2 Messebenen a 3 Messpunkten)
Aufgrund der ermittelten Messergebnisse kann davon ausgegangen werden, dass die Hauptspindel nicht durch Fluchtungsfehler verformt wurde.
… mehr zur Nachmessung Spindelrundlauf >>>
Wie bei allen Nachmessungen wurde das Spindelende mit 600-er Nassschleifpapier bearbeitet und auf den Einsatz eines zweiten Prismenblocks zur Lagerung der Spindel verzichtet.
Rundlauf-Nachmessung mit 12 Messpunkten in der Messebene “Spindelende”
Rundlauf-Nachmessung mit 14 Messpunkten in der Messebene “Antriebsseite”
Rundlauf-Nachmessung mit 14 Messpunkten in der Messebene “Arbeitsseite”
Fazit Part 2:
Der vom Lagerhersteller angegebene Wert 0° 4′ 00″ für die Winkeleinstellbarkeit der Lagerringe zueinander wurde bei den näherungsweise ermittelten Fluchtungsfehlern und den daraus resultierenden Verkippungen nicht überschritten. Der aus den “natürlichen” Drehachsenausrichtungen unter dem Vorbehalt der Spindelstockfertigung ermittelte Radialversatz/Parallelversatz beträgt ca. 6 Hundertstel-Millimeter, der statische Winkelversatz bewegt sich im Bereich zwischen 0°2’32” und 0°3’36” je Lagerseite, vorbehaltlich dass die noch zu ermittelnden Messwerte der Messreihe-oA (ohne Außenringe) mit den bereits ermittelten Messwerten der Messreihe-mA übereinstimmen.








